Blog: Rollerback –
Ergonomische Rückenstütze für Fahrräder
26.02.2026
Die Höhle der Patente
Am 30. September 2024 präsentierten Andreas Tscheinig und Josef Bogenschütz in der TV-Show "Die Höhle der Löwen" ihre Erfindung Rollerback – eine ergonomische Rückenstütze für Fahrräder. Mit diesem Produkt möchten sie das Radfahren komfortabler und gesünder gestalten. In unserer Reihe "Die Höhle der Patente" beleuchten wir die Entstehungsidee, bestehende Lösungen, die Besonderheiten von Rollerback sowie das zugrunde liegende Patent EP3972891B1.
Die Idee hinter Rollerback
Die Gründer erkannten, dass viele Radfahrer unter Rückenschmerzen und Verspannungen leiden, insbesondere bei längeren Fahrten. Um diesem Problem entgegenzuwirken, entwickelten sie Rollerback, eine Rückenstütze, die direkt unter dem Fahrradsattel befestigt wird. Diese soll eine ergonomischere Sitzhaltung fördern und die Kraftübertragung beim Treten verbessern.
Was gibt es in diesem Bereich bereits?
Auf dem Markt existieren bereits verschiedene Lösungen zur Verbesserung des Fahrkomforts, wie gefederte Sattelstützen, ergonomisch geformte Sättel und spezielle Lenkeraufsätze. Diese Ansätze zielen darauf ab, Vibrationen zu reduzieren und die Sitzposition zu optimieren. Allerdings konzentrieren sie sich meist auf einzelne Aspekte des Fahrkomforts und bieten keine direkte Unterstützung des unteren Rückens.
Was macht Rollerback besonders?
Rollerback unterscheidet sich durch seine direkte Unterstützung des unteren Rückens, was zu einer aufrechteren Sitzposition führt und die Wirbelsäule entlastet. Die einfache Montage unter dem Sattel ermöglicht eine individuelle Anpassung an verschiedene Körpergrößen und Fahrradtypen. Zudem kann die Rückenstütze sowohl bei Freizeitfahrten als auch im sportlichen Einsatz verwendet werden.
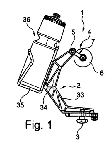
Das Patent (EP3972891B1)
Das Rollerback-Patent schützt eine innovative Rückenstütze 1, die sich durch eine spezielle Konstruktion auszeichnet. Der entscheidende Aspekt, der im Prüfungsverfahren hervorgehoben wurde, ist die gelenkige Verbindung des Bügels 7 mit der Halterung 2 (siehe Fig. 1 des Rollerback-Patents).

[Fig. 1 des Rollerback-Patents]
Diese Konstruktion erlaubt eine flexible Anpassung der Rückenstütze 1, was sowohl die Ergonomie als auch die Fahrstabilität verbessert. Dieser "charakterisierende" Teil des Hauptanspruchs war der Schlüssel zur Patenterteilung.
Stand der Technik (WO2019086059A1)
Die internationale Patentanmeldung D1 (WO2019086059A1) beschreibt ebenfalls Vorrichtungen zur Unterstützung des Rückens beim Radfahren. Allerdings fokussiert sich dieser Stand der Technik auf starre /steife bzw. wenig anpassungsfähige Konstruktionen (siehe Fig. 9 der D1).

[Fig. 9 der D1]
Die gelenkige Verbindung des Bügels im Rollerback-Patent bietet hingegen eine technische Lösung, die sowohl neu als auch erfinderisch ist, da sie die Funktionalität und Anpassbarkeit deutlich verbessert.
In anderen Worten, das Rollerback-Patent überzeugt durch die gelenkige Verbindung von Bügel und Halterung, die Flexibilität und Komfort bietet und gegenüber starren Lösungen neu und erfinderisch ist.
Ausblick
Rollerback bietet eine vielversprechende Lösung für ein häufiges Problem von Radfahrern: Rückenschmerzen und Komfortverlust bei längeren Fahrten. Die Kombination aus ergonomischer Unterstützung, einfacher Montage und individueller Anpassbarkeit macht das Produkt sowohl für den Freizeitbereich als auch für den sportlichen Einsatz attraktiv. Mit seinem durchdachten Design und der gelenkigen Verbindung im Bügelsystem hebt sich Rollerback deutlich von bestehenden Lösungen ab.
Das erteilte Patent EP3972891B1 sichert nicht nur die Einzigartigkeit der Erfindung, sondern stärkt auch die Marktposition des Produkts, indem es möglichen Nachahmern den Weg versperrt. Diese patentgeschützte Innovation könnte zudem den Weg für weitere Anpassungen und Modellvarianten ebnen, die auf spezielle Anforderungen verschiedener Zielgruppen wie E-Bike-Fahrer oder Langstreckenpendler eingehen.
Angesichts des steigenden Interesses an ergonomischen und gesundheitsfördernden Produkten im Bereich der Mobilität hat Rollerback das Potenzial, sich langfristig als feste Größe im Fahrradmarkt zu etablieren. Mit einem Fokus auf nachhaltige Produktion und potenzielle Partnerschaften im Fahrradsegment könnte Rollerback seine Marktpräsenz weiter ausbauen und den Komfort des Radfahrens nachhaltig revolutionieren.
Für mehr IP made in Germany® – kontaktieren Sie uns.
Disclaimer: Der vorstehende Beitrag spiegelt die persönliche Auffassung des Autors wider. Die im Beitrag vorgenommen Einschätzungen und Ausführungen stellen keine Rechtsberatung dar und werden unter Ausschluss jeglicher Haftung zur Verfügung gestellt. Wenn Sie eine patentrechtliche Prüfung Ihres Einzelfalls benötigen, so wenden Sie sich gerne an den Autor und/oder die Kanzlei KUHNEN & WACKER.
Weitere Neuigkeiten und
Beiträge von K&W
Starten Sie Ihre Karriere bei K&W und werden Sie Teil unseres Teams
Sie sind einsatzfreudig und flexibel? Arbeiten gerne selbständig und sind bereit Verantwortung zu übernehmen? Dann sind Sie bei K&W genau richtig. Unsere Personalreferentin Elwine Kaschner freut sich auf Ihre Bewerbung.